中国的北斗卫星目前总共有几颗

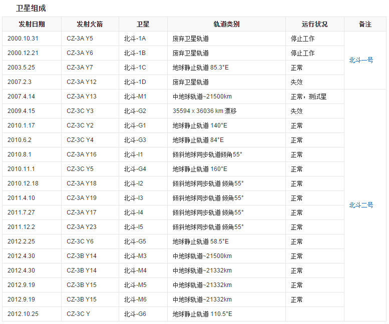
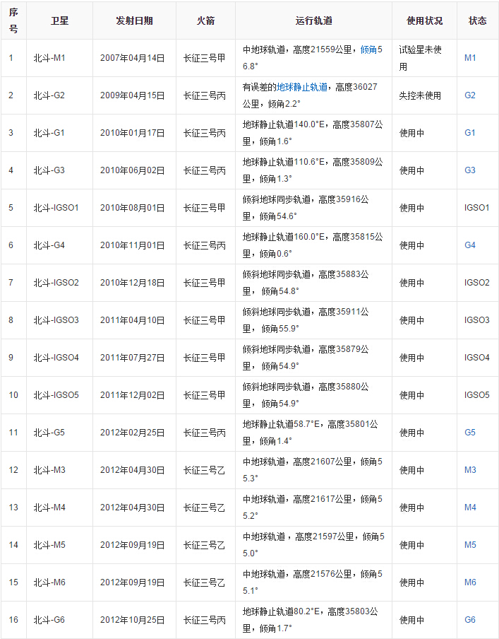
北斗卫星导航系统由空间段计划由35颗卫星组成,包括5颗静止轨道卫星、27颗中地球轨道卫星、3颗倾斜同步轨道卫星。5颗静止轨道卫星定点位置为东经58.75°、80°、110.5°、140°、160°,中地球轨道卫星运行在3个轨道面上,轨道面之间为相隔120°均匀分布。至2012年底北斗亚太区域导航正式开通时,已为正式系统在西昌卫星发射中心发射了16颗卫星,其中14颗组网并提供服务,分别为5颗静止轨道卫星、5颗倾斜地球同步轨道卫星(均在倾角55°的轨道面上),4颗中地球轨道卫星(均在倾角55°的轨道面上)。

定位原理
35颗卫星在离地面2万多千米的高空上,以固定的周期环绕地球运行,使得在任意时刻,在地面上的任意一点都可以同时观测到4颗以上的卫星。
由于卫星的位置精确可知,在接收机对卫星观测中,我们可得到卫星到接收机的距离,利用三维坐标中的距离公式,利用3颗卫星,就可以组成3个方程式,解出观测点的位置(X,Y,Z)。考虑到卫星的时钟与接收机时钟之间的误差,实际上有4个未知数,X、Y、Z和钟差,因而需要引入第4颗卫星,形成4个方程式进行求解,从而得到观测点的经纬度和高程。
事实上,接收机往往可以锁住4颗以上的卫星,这时,接收机可按卫星的星座分布分成若干组,每组4颗,然后通过算法挑选出误差最小的一组用作定位,从而提高精度。

卫星定位实施的是“到达时间差”(时延)的概念:利用每一颗卫星的精确位置和连续发送的星上原子钟生成的导航信息获得从卫星至接收机的到达时间差。
卫星在空中连续发送带有时间和位置信息的无线电信号,供接收机接收。由于传输的距离因素,接收机接收到信号的时刻要比卫星发送信号的时刻延迟,通常称之为时延,因此,也可以通过时延来确定距离。卫星和接收机同时产生同样的伪随机码,一旦两个码实现时间同步,接收机便能测定时延;将时延乘上光速,便能得到距离。
每颗卫星上的计算机和导航信息发生器非常精确地了解其轨道位置和系统时间,而全球监测站网保持连续跟踪。

最新信息
8月9日,由中国航天科技集团公司五院抓总研制的第18、19颗北斗导航卫星首次实现星间链路建立,标志着我国成功验证了全球导航卫星星座自主运行核心技术,为建成全球卫星导航系统奠定了坚实的基础。
据悉,第18、19颗北斗导航卫星于2015年7月25日在西昌卫星发射中心由长征三号乙/远征一号运载火箭成功发射升空后,各项工作顺利展开。
随着首次导航卫星星间链路的建立,第19颗北斗导航卫星通过星间链路将星间遥测传递给第18颗北斗导航卫星,第18颗北斗导航卫星顺利接收并通过测控通道向地面传回第一帧星间遥测。
第18、19颗北斗导航卫星首次实现星间链路建立,标志着北斗卫星导航系统向全球覆盖的建设目标迈出坚实一步。
尊敬的访客:如果您想了解或购买GPS定位 防盗产品,请点击下方按钮联系我们

您也可以直接拨打客服热线:4007-888-200
推荐阅读:
GPS卫星定位的大致原理
80岁中国老太澳大利亚失踪 老人GPS防丢器备受热捧
奔跑吧兄弟第三季中gps定位用的软件
全球卫星导航系统(GNSS) 定位精度达到米级
开扒,古代驴友出行是怎么玩的?



